
Клиенту передан уникальный кроссовер Bentley Bentayga Apex Edition. Эта спецсерия была анонсирована еще в прошлом году и включает 20 машин, но последний экземпляр подготовлен по особому заказу: его внешний декор полностью повторяет оформление купе Bentley Continental GT Le Mans Collection, которое было выпущено в 2023 году к 20-летию шестой победы Bentley в Ле-Мане. Кроссовер имеет зеленый кузов с белой полосой, углепластиковый обвес, 22-дюймовые углепластиковые колеса и углерод-керамические тормоза. Технически это серийная Bentayga S с битурбомотором V8 4.0 (550 л.с.).

Глава компании Audi Гернот Дёльнер рассказал немецким журналистам, что производство компактного электромобиля начального уровня начнется уже в 2026 году, то есть на год раньше прежнего плана. Для этого будут модернизированы немецкие заводы компании. Сам электромобиль станет альтернативой топливным моделям Audi А3, но едва ли он будет схож с близким по размеру хэтчбеком Volkswagen ID.3, ведь он уже немолод и не слишком приглянулся покупателям.

Назначенный в феврале новый глава марки Peugeot Ален Фави заявил, что дал зеленый свет для разработки электрического хот-хэтча Peugeot e-208 GTi. С этой моделью компания возродит обозначение GTi, которое исчезло в 2021 году после прекращения производства модели Peugeot 308 GTi. Плюс это будет первый электрический хот-хэтч марки, причем его дебют должен состояться «как можно скорее». Судя по всему, мощному хэтчбеку достанется та же техника, что уже используется на соплатформенных моделях Abarth 600e и Alfa Romeo Junior.

Опубликован тизер шоу-кара Hyundai Insteroid. За основу взят серийный электромобиль Hyundai Inster, но он серьезно переделан, чтобы казаться настоящим гоночным болидом. Даже на темных изображениях отчетливо заметны расширенный обвес кузова, каркас безопасности и огромное антикрыло. Полноценный показ шоу-кара Hyundai Insteroid запланирован на апрель.

У дешевого электровэна Wuling Hongguang PEV появилась обещанная ранее гибридная версия EREV. Она имеет атмосферник 1.5 (99 л.с., 125 Нм), который работает в режиме генератора, и тяговый электромотор (102 л.с., 180 Нм) на задней оси. Тяговая батарея емкостью всего 8,5 кВт∙ч обеспечивает 50 км пробега в электрическом режиме, а дальность хода в гибридном режиме — 1000 км. Гибридный Wuling Hongguang EREV стоит даже дешевле электрической версии: от 68800 юаней (9600 долларов) против 70 тысяч юаней (9900 долларов).

В апреле будет спущен на воду пятый собственный корабль-автовоз компании BYD. Судно под названием Changsha станет вторым кораблем особо крупного класса во флоте китайской компании (первым был Shenzhen, он и показан на фото). Оба корабля имеют 219 м в длину и способны перевозить до 9200 автомобилей за раз. Таким образом компания BYD намерена значительно усилить свое присутствие на экспортных рынках. В прошлом году на внешние рынки она поставила 433 тысячи машин, что на 71,8% больше, чем в 2023 году.

Кроссовер Jetour Traveler (он же T2 на российском рынке) слегка обновлен для китайского рынка. Расширена гамма цветов кузова, для заказа стали доступны новые наборы внешнего декора, появились новые варианты дизайна колес. В салоне пересмотрены дефлекторы вентиляции, медиасистема обрела улучшенный голосовой помощник, появились новые ключи. В Китае обновленный кроссовер стоит от 140 тысяч юаней (19300 долларов).

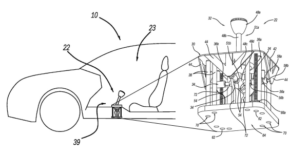
Компания Ford запатентовала систему механического переключения «передач» для электромобилей. На чертеже изображен вполне традиционный рычаг механической коробки передач, но заявлено, что он может работать как в классическом, так и в секвентальном режиме на манер гоночных автомобилей. При этом никаких реальных передач в электромобиле, разумеется, не предусмотрено, а эта система призвана лишь добавить электромобилю эмоциональности.
Также сегодня мы рассказали о кроссовере Nammi 06, семействе Audi A5 e-hybrid, седане Hongqi Tiangong 05 и родстере Aston Martin Vanquish Volante.